PHẦN I. Thí sinh trả lời từ câu 1 đến câu 18. Mỗi câu hỏi thí sinh chỉ chọn một phương án.
Câu 1 [831122]: Đường sức từ của từ trường đều là các đường
A, thẳng song song và cách đều nhau.
B, thẳng hoặc đường cong.
C, cong không cắt nhau.
D, cong cách đều nhau.
Đường sức từ của từ trường đều là các đường thẳng song song và cách đều nhau.
Chọn A Đáp án: A
Chọn A Đáp án: A
Câu 2 [820474]: Cho sơ đồ mạch điện và kim nam châm được treo như hình bên dưới. Kim nam châm chỉ chuyển động tịnh tiến . Khi đóng công tắc K thì kim nam châm sẽ
A, bị đẩy sang trái.
B, bị đẩy sang phải.
C, vẫn đứng yên.
D, bị đẩy sang trái rồi bị đẩy sang phải.
Khi đóng công tắc K thì mạch điện xuất hiện từ trường của ống dây theo quy tắc nắm tay phải, từ trường có chiều từ trái sang phải, ống dây bây giờ giống với một nam châm có cực bắc nằm ở bên phải.
Tương tác lúc này của ống dây với kim nam châm là tương tác từ: chúng đẩy nhau.
Chọn B Đáp án: B
Tương tác lúc này của ống dây với kim nam châm là tương tác từ: chúng đẩy nhau.
Chọn B Đáp án: B
Câu 3 [820461]: Với một ống dây có chiều dài đủ lớn, khi có dòng điện chạy qua thì các đường sức từ trong lòng ống dây có dạng là
A, những vòng tròn cách đều nhau.
B, những đường thẳng song song với trục ống dây và cách đều nhau.
C, những đường cong giống như đường sức từ bên ngoài thanh nam châm thẳng.
D, những đường thẳng song song và vuông góc với trục ống dây.
Với một ống dây có chiều dài đủ lớn, khi có dòng điện chạy qua thì các đường sức từ trong lòng ống dây có dạng những đường thẳng song song với trục ống dây và cách đều nhau.
Chọn B Đáp án: B
Chọn B Đáp án: B
Câu 4 [835147]: Phát biểu nào dưới đây là ĐÚNG?
A, Đường sức từ của từ trường gây ra bởi dòng điện tròn là những đường thẳng song song cách đều nhau.
B, Đường sức từ của từ trường gây ra bởi dòng điện tròn là những đường tròn đồng tâm với dòng điện.
C, Đường sức từ của từ trường gây ra bởi dòng điện thẳng dài là những đường tròn đồng tâm nằm trong mặt phẳng vuông góc với dây dẫn.
D, Đường sức từ của từ trường gây ra bởi dòng điện thẳng dài là những đường thẳng song song với dòng điện.
Đường sức từ của từ trường gây ra bởi dòng điện thẳng dài là những đường tròn đồng tâm nằm trong mặt phẳng vuông góc với dây dẫn.

Đường sức từ của dòng điện thẳng, dòng điện tròn và ống dây lần lượt có dạng:
Chọn C Đáp án: C

Đường sức từ của dòng điện thẳng, dòng điện tròn và ống dây lần lượt có dạng:
Chọn C Đáp án: C
Câu 5 [832541]: Chỉ ra phát biểu sai.
A, Lực từ tác dụng lên đoạn dây dẫn mang dòng điện có phương vuông góc với đường cảm ứng từ.
B, Lực từ tác dụng lên đoạn dây dẫn mang dòng điện có phương vuông góc với mặt phẳng chứa dòng điện và đường cảm ứng từ.
C, Lực từ tác dụng lên đoạn dây dẫn mang dòng điện có phương tiếp tuyến với các đường cảm ứng từ.
D, Lực từ tác dụng lên đoạn dây dẫn mang dòng điện có phương vuông góc với dòng điện.
Lực từ tác dụng lên đoạn dây dẫn mang dòng điện có phương vuông góc với mặt phẳng chứa dòng điện và đường cảm ứng từ hay Lực từ tác dụng lên đoạn dây dẫn mang dòng điện có phương vuông góc với đường cảm ứng từ và vuông góc với dòng điện.
Chọn C Đáp án: C
Chọn C Đáp án: C
Câu 6 [710122]: Độ lớn của lực từ tác dụng lên đoạn dây dẫn mang dòng điện đặt trong từ trường không phụ thuộc vào
A, cường độ dòng điện.
B, độ lớn cảm ứng từ.
C, độ dài đoạn dây dẫn.
D, đường kính của đoạn dây dẫn.
Độ lớn của lực từ tác dụng lên đoạn dây dẫn mang dòng điện đặt trong từ trường là: 
Độ lớn của lực từ tác dụng lên đoạn dây dẫn mang dòng điện đặt trong từ trường phụ thuộc vào cường độ dòng điện, độ lớn cảm ứng từ, độ dài đoạn dây dẫn và không phụ thuộc vào đường kính của đoạn dây dẫn.
Chọn D Đáp án: D

Độ lớn của lực từ tác dụng lên đoạn dây dẫn mang dòng điện đặt trong từ trường phụ thuộc vào cường độ dòng điện, độ lớn cảm ứng từ, độ dài đoạn dây dẫn và không phụ thuộc vào đường kính của đoạn dây dẫn.
Chọn D Đáp án: D
Câu 7 [862615]: Một dây dẫn được đặt giữa các cực của một nam châm hình móng ngựa. Có một dòng điện chạy trong dây theo hướng như hình vẽ, và điều này gây ra một lực tác dụng lên dây.

Ba cách sắp xếp khác, P, Q và R, của dây và nam châm được thiết lập như hình vẽ.

Cách sắp xếp nào hoặc những cách sắp xếp nào sẽ gây ra một lực theo cùng hướng với cách sắp xếp ban đầu?

Ba cách sắp xếp khác, P, Q và R, của dây và nam châm được thiết lập như hình vẽ.

Cách sắp xếp nào hoặc những cách sắp xếp nào sẽ gây ra một lực theo cùng hướng với cách sắp xếp ban đầu?
A, P, Q và R.
B, Chỉ P và Q.
C, Chỉ P.
D, Chỉ R.
Lực từ có chiều vào Nam ra Bắc đối với nam châm, theo quy tắc bàn tay trái, ta có thể xác định được chiều dòng điện, để gây ra một lực theo cùng hướng với cách sắp xếp ban đầu thì ta phải đồng thời quay ngược nam châm và đổi chiều dòng điện.
Chọn D Đáp án: D
Chọn D Đáp án: D
Câu 8 [711094]: Bốn đoạn dây dẫn a, b, c, d có cùng chiều dài được đặt trong từ trường đều (hình bên).

Các dòng điện chạy trong bốn đoạn dây dẫn này có cùng cường độ I. Lực từ tác dụng lên đoạn dây dẫn nào là mạnh nhất?

Các dòng điện chạy trong bốn đoạn dây dẫn này có cùng cường độ I. Lực từ tác dụng lên đoạn dây dẫn nào là mạnh nhất?
A, Đoạn a.
B, Đoạn b.
C, Đoạn c.
D, Đoạn d.
Lực từ tác dụng lên đoạn dây dẫn mang dòng điện đặt trong từ trường được xác định :
với
là góc tạo bởi vecto cường độ dòng điện và vecto cảm ứng từ.
Ta thấy góc giữa vecto cường độ dòng điện trong đoạn dây dẫn a vuông góc với từ trường đều nên lực từ tác dụng lên đoạn dây này là mạnh nhất.
Chọn A Đáp án: A
với
là góc tạo bởi vecto cường độ dòng điện và vecto cảm ứng từ.Ta thấy góc giữa vecto cường độ dòng điện trong đoạn dây dẫn a vuông góc với từ trường đều nên lực từ tác dụng lên đoạn dây này là mạnh nhất.
Chọn A Đáp án: A
Câu 9 [834513]: Hình bên là một mô hình về chuông điện. Nhấn nút A thì chuông reo liên hồi, phát biểu nào sau đây nói về một giai đoạn hoạt động của chuông?


A, Khi tiếp điểm E kín, trong cuộn dây có dòng điện đẩy búa ra khỏi chuông.
B, Tiếp điểm E kín, trong cuộn dây có dòng điện hút búa gõ vào chuông.
C, Khi tiếp điểm E hở, trong cuộn dây có dòng điện đẩy búa ra khỏi chuông.
D, Khi tiếp điểm E hở, trong cuộn dây có dòng điện hút búa gõ vào chuông.
Khi nói về chuông điện, nhấn nút A thì chuông reo liên hồi. Khi tiếp điểm E kín, trong cuộn dây có dòng điện nên ống dây có tác dụng giống với một nam châm hút búa gõ vào chuông. Khi búa gõ vào chuông thì tiếp điểm E hở, trong cuộn dây không còn dòng điện nên không còn hút búa nữa, búa về lại vị trí tiếp điểm E.
Chọn B Đáp án: B
Chọn B Đáp án: B
Câu 10 [832588]: Từ thông dùng để diễn tả:
A, Độ mạnh, yếu của từ trường tại một điểm.
B, Mật độ các đường sức từ của một từ trường đều.
C, Số đường sức từ xuyên qua một diện tích nào đó trong từ trường.
D, Độ lớn của cảm ứng từ sinh ra bởi từ trường của một nam châm.
Từ thông dùng để diễn tả số đường sức từ xuyên qua một điện tích nào đó trong từ trường.
Chọn C Đáp án: C
Chọn C Đáp án: C
Câu 11 [862616]: Sơ đồ cho thấy một cuộn dây được nối với một vôn kế.

Một học sinh có một nam châm và một thanh sắt chưa bị nhiễm từ.
Làm thế nào để có một suất điện động cảm ứng tạo ra trên cuộn dây?

Một học sinh có một nam châm và một thanh sắt chưa bị nhiễm từ.
Làm thế nào để có một suất điện động cảm ứng tạo ra trên cuộn dây?
A, Giữ nam châm bên trong cuộn dây.
B, Giữ thanh sắt bên trong cuộn dây.
C, Đẩy nam châm vào trong cuộn dây.
D, Đẩy thanh sắt vào trong cuộn dây.
Để có một suất điện động cảm ứng tạo ra trên cuộn dây cần đẩy nam châm vào trong cuộn dây để làm từ thông qua ống dây biến thiên.
Chọn C Đáp án: C
Chọn C Đáp án: C
Câu 12 [834551]: Hình vẽ nào sau đây xác định đúng chiều dòng điện cảm ứng khi cho vòng dây dịch chuyển lại gần hay ra xa nam châm?
A, 

B, 

C, 

D, 

Từ trường của nam châm có chiều từ trái qua phải, từ trường cảm ứng sinh ra sẽ chống lại nguyên nhân sinh ra nó.
Chiều dòng điện cảm ứng khi cho vòng dây dịch chuyển lại gần là hình C
Chọn C Đáp án: C
Chiều dòng điện cảm ứng khi cho vòng dây dịch chuyển lại gần là hình C
Chọn C Đáp án: C
Câu 13 [711066]: Một thanh nam châm được treo bằng lò xo gắn với giá đỡ cố định. Nó dao động trên một hình trụ nhôm rỗng đặt bên dưới đầu dưới của nó. Câu nào sau đây là đúng (Bỏ qua sức cản của không khí)?

(1) Biên độ dao động của nam châm không đổi.
(2) Lực giữa thanh nam châm và khối trụ nhôm luôn luôn là lực hấp dẫn.
(3) Dòng điện xoáy được tạo ra trong hình trụ nhôm rỗng.

(1) Biên độ dao động của nam châm không đổi.
(2) Lực giữa thanh nam châm và khối trụ nhôm luôn luôn là lực hấp dẫn.
(3) Dòng điện xoáy được tạo ra trong hình trụ nhôm rỗng.
A, Chỉ (1).
B, Chỉ (3).
C, Chỉ (1) và (2).
D, Chỉ (2) và (3).
(1) Sai: Nam châm dao động tắt dần.
(2) Sai: Lực giữa thanh nam châm và khối trụ nhôm ngoài lực hấp dẫn còn có lực tương tác từ.
(3) Đúng: Dòng điện xoáy được tạo ra trong hình trụ nhôm rỗng tuân theo định luật Faraday và định luật Lenz.
Chọn B Đáp án: B
(2) Sai: Lực giữa thanh nam châm và khối trụ nhôm ngoài lực hấp dẫn còn có lực tương tác từ.
(3) Đúng: Dòng điện xoáy được tạo ra trong hình trụ nhôm rỗng tuân theo định luật Faraday và định luật Lenz.
Chọn B Đáp án: B
Câu 14 [708523]: Một dòng điện xoay chiều có cường độ
Phát biểu nào sau đây là không đúng?
Phát biểu nào sau đây là không đúng? A, Cường độ dòng điện hiệu dụng bằng
.
.B, Chu kì dòng điện là
.
.C, Tần số là
.
.D, Pha ban đầu của dòng điện là
.
.
Một dòng điện xoay chiều có cường độ 
Cường độ dòng điện hiệu dụng
Chu kì dòng điện là
Tần số là
Pha ban đầu của dòng điện là
.
Chọn C Đáp án: C

Cường độ dòng điện hiệu dụng

Chu kì dòng điện là

Tần số là

Pha ban đầu của dòng điện là
.Chọn C Đáp án: C
Câu 15 [823230]: Máy dò kim loại được sử dụng ở những nơi cần kiểm tra an ninh. Phát biểu nào sau đây về máy dò kim loại là đúng?
A, Máy dò có thể dùng trong sản xuất thực phẩm để loại cát, sỏi mịn trộn vào thực phẩm.
B, Khi máy dò phát hiện kim loại, dòng điện xoáy được tạo ra trong kim loại được phát hiện.
C, Máy dò phải di chuyển nhanh khi sử dụng.
D, Máy dò chỉ có thể phát hiện được sắt, thép.
Máy dò kim loại được sử dụng ở những nơi cần kiểm tra an ninh. Khi nói về máy dò kim loại: Máy dò có thể phát hiện được kim loại dẫn điện, di chuyển máy dò chậm khi sử dụng, khi máy dò phát hiện kim loại, dòng điện xoáy được tạo ra trong kim loại được phát hiện. Máy dò không phát hiện được cát, sỏi mịn vì đây không phải kim loại.
Chọn B Đáp án: B
Chọn B Đáp án: B
Câu 16 [707932]: Nhận định nào sau đây là đúng khi nói về máy biến áp?
A, Máy biến áp là thiết bị biến đổi điện áp xoay chiều nhưng không làm thay đổi tần số dòng điện.
B, Máy biến áp là thiết bị biến đổi điện áp xoay chiều cả về độ lớn và tần số của dòng điện.
C, Máy biến áp là thiết bị không tiêu thụ điện năng, chỉ chuyển hoá điện áp của dòng điện.
D, Máy biến áp là thiết bị hoạt động dựa trên hiện tượng cảm ứng điện từ có phần lõi sắt là nam châm vĩnh cửu.
Máy biến áp là thiết bị biến đổi điện áp xoay chiều nhưng không làm thay đổi tần số dòng điện. Nguyên tắc hoạt động dựa trên hiện tượng cảm ứng điện từ và lõi là lõi thép.
Chọn A Đáp án: A
Chọn A Đáp án: A
Câu 17 [710186]: Một sóng điện từ lan truyền trong không gian với tốc độ c và bước sóng
Tần số của sóng điện từ đó được xác định bởi công thức nào sau đây?
Tần số của sóng điện từ đó được xác định bởi công thức nào sau đây? A, 

B, 

C, 

D, 

Tần số của sóng điện từ được xác định bởi công thức 
Chọn A Đáp án: A

Chọn A Đáp án: A
Câu 18 [709825]: Trong quá trình lan truyền sóng điện từ, vectơ
và vectơ
luôn luôn
và vectơ
luôn luôn A, trùng phương với nhau và vuông góc với phương truyền sóng.
B, dao động cùng pha.
C, có độ lớn không đổi.
D, biến thiên tuần hoàn theo không gian, không tuần hoàn theo thời gian.
Trong quá trình lan truyền sóng điện từ, vectơ
và vectơ
luôn luôn dao động cùng pha, có phương vuông góc với nhau và vuông góc với phương truyền sóng, biến thiên tuần hoàn theo không gian và theo thời gian.
Chọn B Đáp án: B
và vectơ
luôn luôn dao động cùng pha, có phương vuông góc với nhau và vuông góc với phương truyền sóng, biến thiên tuần hoàn theo không gian và theo thời gian.Chọn B Đáp án: B
PHẦN II. Thí sinh trả lời từ câu 1 đến câu 4. Trong mỗi ý a), b), c), d) ở mỗi câu, thí sinh chọn đúng hoặc sai.
Câu 19 [820477]: Trong các phát biểu dưới đây, phát biểu nào là đúng, phát biểu nào là sai?
a) Đúng: Các đường sức từ của dây dẫn mang dòng điện thẳng rất dài là các đường tròn đồng tâm, tâm nằm trên dây dẫn và các đường sức nằm trên những mặt phẳng vuông góc với dây dẫn.
b) Đúng: Các đường sức từ của từ trường đều là những đường thẳng song song, cách đều nhau.
c) Sai: Các đường sức từ là những đường cong kín, còn các đường sức điện là những đường cong không kín, đi ra khỏi điện tích dương và đi vào điện tích âm.
d) Đúng: Qua mỗi điểm trong không gian có từ trường chỉ vẽ được một và chỉ một đường sức từ.
b) Đúng: Các đường sức từ của từ trường đều là những đường thẳng song song, cách đều nhau.
c) Sai: Các đường sức từ là những đường cong kín, còn các đường sức điện là những đường cong không kín, đi ra khỏi điện tích dương và đi vào điện tích âm.
d) Đúng: Qua mỗi điểm trong không gian có từ trường chỉ vẽ được một và chỉ một đường sức từ.
Câu 20 [862619]: Trong các phát biểu về sóng điện từ phát biểu nào đúng, phát biểu nào sai?
a) Đúng: Khi sóng điện từ gặp mặt phân cách giữa hai môi trường thì nó có thể bị phản xạ và khúc xạ.
b) Đúng: Sóng điện từ truyền được trong chân không.
c) Đúng: Trong sóng điện từ thì dao động của điện trường và của từ trường tại một điểm luôn đồng pha với nhau và vecto cường độ điện trường luôn vuông góc vecto cảm ứng từ.
d) Sai: Sóng điện từ luôn là sóng ngang với mọi môi trường truyền sóng vì sóng có phương truyền sóng vuông góc với phương dao động.
b) Đúng: Sóng điện từ truyền được trong chân không.
c) Đúng: Trong sóng điện từ thì dao động của điện trường và của từ trường tại một điểm luôn đồng pha với nhau và vecto cường độ điện trường luôn vuông góc vecto cảm ứng từ.
d) Sai: Sóng điện từ luôn là sóng ngang với mọi môi trường truyền sóng vì sóng có phương truyền sóng vuông góc với phương dao động.
Câu 21 [820934]: Một nhóm học sinh tìm hiểu về sự phụ thuộc của lực từ tác dụng lên đoạn dây dẫn mang dòng điện đặt trong từ trường vào cường độ dòng điện trong đoạn dây. Họ đã thực hiện các nội dung sau:
(I) Chuẩn bị các dụng cụ: Nam châm hình chữ U, dây dẫn mang dòng điện có khối lượng m, nguồn điện một chiều, ampe kế, hai lực kế giống hệt nhau.
(II) Họ cho rằng khi làm thay đổi cường độ dòng điện qua đoạn dây dẫn thì độ lớn lực từ tác dụng lên đoạn dây sẽ thay đổi tỉ lệ thuận với cường độ dòng điện.
(III) Họ đã làm thí nghiệm thay đổi cường độ dòng điện và xác định lực từ tác dụng lên dây dẫn. Kết quả thu được tỉ số giữa độ lớn lực từ F và cường độ dòng điện chạy qua dây dẫn I là gần như không đổi.
(IV) Từ kết quả của thí nghiệm này, họ đi đến kết luận lực từ tác dụng lên dây dẫn mang dòng điện đặt trong từ trường tỉ lệ thuận với cường độ dòng điện chạy trong dây dẫn.
(I) Chuẩn bị các dụng cụ: Nam châm hình chữ U, dây dẫn mang dòng điện có khối lượng m, nguồn điện một chiều, ampe kế, hai lực kế giống hệt nhau.
(II) Họ cho rằng khi làm thay đổi cường độ dòng điện qua đoạn dây dẫn thì độ lớn lực từ tác dụng lên đoạn dây sẽ thay đổi tỉ lệ thuận với cường độ dòng điện.
(III) Họ đã làm thí nghiệm thay đổi cường độ dòng điện và xác định lực từ tác dụng lên dây dẫn. Kết quả thu được tỉ số giữa độ lớn lực từ F và cường độ dòng điện chạy qua dây dẫn I là gần như không đổi.
(IV) Từ kết quả của thí nghiệm này, họ đi đến kết luận lực từ tác dụng lên dây dẫn mang dòng điện đặt trong từ trường tỉ lệ thuận với cường độ dòng điện chạy trong dây dẫn.
a) Sai: Tỉ số giữa độ lớn lực từ F và cường độ dòng điện chạy qua dây dẫn I là gần như không đổi nên kết hợp với điều kiện về sai số nên có thể khẳng định nội dung (III) là đã đủ để đưa ra kết luận (IV).
b) Đúng: Nhóm học sinh trên đã thực hiện một số bước của phương pháp thực nghiệm khi nghiên cứu Vật lí.
c) Đúng: Nội dung (II) là giả thuyết của nhóm học sinh.
d) Sai: Trong thí nghiệm trên, tổng hợp số chỉ ở mỗi lực kế là độ lớn lực từ và trọng lực tác dụng lên dây dẫn.
b) Đúng: Nhóm học sinh trên đã thực hiện một số bước của phương pháp thực nghiệm khi nghiên cứu Vật lí.
c) Đúng: Nội dung (II) là giả thuyết của nhóm học sinh.
d) Sai: Trong thí nghiệm trên, tổng hợp số chỉ ở mỗi lực kế là độ lớn lực từ và trọng lực tác dụng lên dây dẫn.
Câu 22 [862621]: Hình vẽ cho thấy một máy đo địa chấn đơn giản do một học sinh thực hiện.
a) Sai: Khi thay nam châm bằng một thanh thép, khi cho thanh thép chuyển động máy sẽ không đo được tín hiệu điện áp trừ khi thanh thép bị nhiễm từ.
b) Đúng: Khi có chấn động càng lớn, điện áp đo được có biên độ càng lớn do chuyển động của nam châm có biên độ càng lớn thì biến thiên từ thông theo thời gian càng lớn.
c) Đúng: Dùng lò xo có độ cứng thấp hơn sẽ làm máy đo nhạy hơn vì lực kéo về có giá trị nhỏ hơn nên sẽ dễ dịch chuyển khi dao động xảy ra hơn.
d) Sai: Tăng số vòng dây của cuộn dây làm thay đổi tín hiệu điện áp đo được khi xảy ra địa chấn:
b) Đúng: Khi có chấn động càng lớn, điện áp đo được có biên độ càng lớn do chuyển động của nam châm có biên độ càng lớn thì biến thiên từ thông theo thời gian càng lớn.
c) Đúng: Dùng lò xo có độ cứng thấp hơn sẽ làm máy đo nhạy hơn vì lực kéo về có giá trị nhỏ hơn nên sẽ dễ dịch chuyển khi dao động xảy ra hơn.
d) Sai: Tăng số vòng dây của cuộn dây làm thay đổi tín hiệu điện áp đo được khi xảy ra địa chấn:
PHẦN III. Thí sinh trả lời từ câu 1 đến câu 6.
Sử dụng các thông tin sau cho Câu 1 và Câu 2:


Câu 23 [862622]: Điện áp hiệu dụng hai đầu đoạn mạch là bao nhiêu V (kết quả làm tròn đến chữ số hàng đơn vị)
Điện áp hiệu dụng hai đầu đoạn mạch là
Câu 24 [862623]: Chu kì của điện áp là bao nhiêu ms?
Chu kì của điện áp là
Sử dụng thông tin sau đây cho Câu 3 và Câu 4:
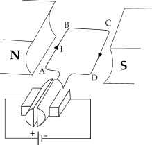
Hình vẽ bên mô tả nguyên lý hoạt động của động cơ điện một chiều. Khung dây hình chữ nhật ABCD có kích thước AB = 30 cm, BC = 20 cm, đặt trong từ trường đều của nam châm có độ lớn cảm ứng từ B = 0,6 T. Dòng điện một chiều có cường độ I = 5 A chạy qua khung dây. Tại thời điểm xét, mặt phẳng khung dây song song với đường sức của từ trường.


Câu 25 [828161]: Lực từ tác dụng lên cạnh AB có độ lớn là bao nhiêu N?
Câu 26 [828164]: Mô men ngẫu lực từ tác dụng lên khung dây ABCD có độ lớn là bao nhiêu N.m?
Do trục quay là phần chính giữa của thanh BC nên cánh tay đòn của momen lực là 
Lực từ tác dụng vào cạnh AB và CD đều làm cho khung dây quay ngược chiều kim đồng hồ.
Độ lớn momen lực tác dụng lên khung dây là

Lực từ tác dụng vào cạnh AB và CD đều làm cho khung dây quay ngược chiều kim đồng hồ.
Độ lớn momen lực tác dụng lên khung dây là
Câu 27 [821865]: Một thanh dẫn điện tịnh tiến trong từ trường đều, cảm ứng từ bằng 0,4 T. Vectơ vận tốc của thanh hợp với đường sức từ một góc 30o. Thanh dài 40 cm. Một vôn kế nối với hai đầu thanh chỉ 0,2 V. Tính tốc độ của thanh
Suất điện động cảm ứng trong khung dây là 
Tốc độ của thanh là

Tốc độ của thanh là
Câu 28 [832582]: Một khung dây hình vuông cạnh 5 cm đặt trong từ trường đều có cảm ứng từ B =
T. Từ thông qua hình vuông đó bằng
Wb. Góc hợp giữa vectơ cảm ứng từ và mặt phẳng khung dây hình vuông đó bằng bao nhiêu độ?
T. Từ thông qua hình vuông đó bằng
Wb. Góc hợp giữa vectơ cảm ứng từ và mặt phẳng khung dây hình vuông đó bằng bao nhiêu độ?
Ta có:
Góc hợp giữa vecto cảm ứng từ và mặt phẳng khung dây là
Góc hợp giữa vecto cảm ứng từ và mặt phẳng khung dây là